熱門關鍵詞: 碳纖維手機殼 碳纖維手機套 凱夫拉手機殼 凱芙拉手機殼
據海外媒體爆料,當前蘋果公司已經訂購了大量的碳纖維材料。這或許意味著蘋果即將推出的某款新品將采用這一材料。
此前蘋果公司申請了關于碳纖維材料外殼筆記本電腦的專利。同時,公司還在公開招聘從事碳纖維材料的研究的高級工程師。這表明,蘋果采用這一材料用于某款產品將是必然。 123456
分析稱,當前多家PC廠商已經在筆記本電腦中采用了碳纖維材料,該材料將減輕產品的重量,同時也比鋁質外殼堅硬高達6倍。但唯一的缺點在于碳纖維的價格昂貴。不過,蘋果應該不在乎原材料的成本。 123456
當前市場上已經有很多廠商推出碳纖維外殼的筆記本電腦,比如東芝的Z830、戴爾的XPS 13、索尼的VAIO Z系列、聯想的ThinkPadX1 Carbon等。這些產品多數以超輕薄見長,同時堅固耐用。但價格卻比較高。
copyright 123456
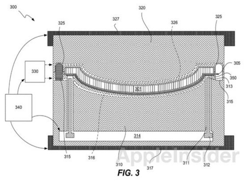
此前,蘋果于2012年9月份獲得了一項關于碳纖維模具工藝的專利,美國專利號為8257075。這意味著蘋果正在考慮利用碳纖維材質制造筆記本電腦的外殼等相關部件。該項專利顯示,這種新型的外殼材料為碳纖維和樹脂材料合成制造,是一種具有美感的材質。
123,123

